技术资讯|皮囊式蓄能器的常见故障及排除方法
发布时间:2025-09-26 09:21:28
皮囊式蓄能器由油液部分和气体部分构成,皮囊用作气体密封隔离件。皮囊周围的油液与液压回路相通,因此压力升高时气体被压缩,油液被吸入皮囊式蓄能器。压力下降时,气体膨胀,从而把油液压入系统回路。
皮囊式蓄能器除了机械部分的问题外,最关键的部分是橡胶皮囊。橡胶皮囊通过压熔而成。如果其尺寸超过一定范围,在成分、抗性、不完善性和厚度方面就难以控制。最大的问题是皮囊的破裂会使蓄能器立刻停止工作,导致所有液压系统故障。
【故障1】压力下降严重,经常需要补气
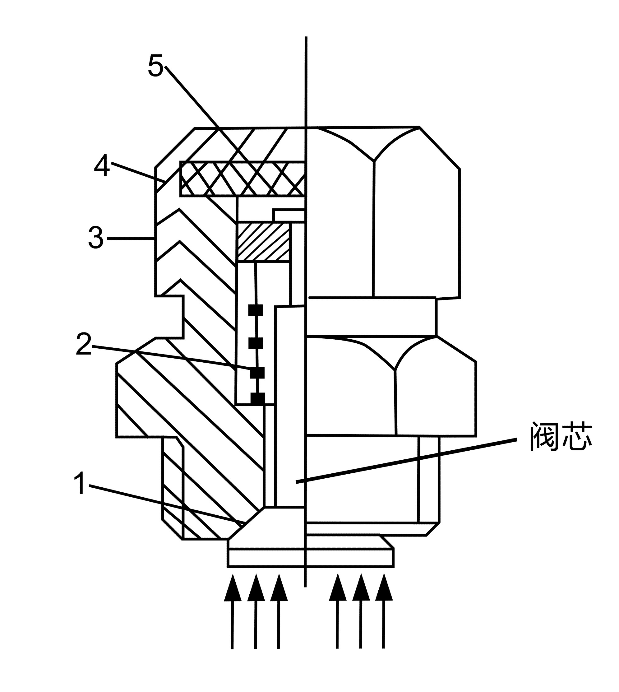
皮囊的充气阀为单向阀的形式,靠密封锥面密封(图1)。当蓄能器在工作过程中受到振动时,有可能使阀芯松动,使密封锥面1不密合,导致漏气。此外,阀芯锥面上拉有沟槽,或者锥面上粘有污物,也可能导致漏气。此时可在充气阀的密封盖4内垫入厚3mm左右的硬橡胶垫5,以及采取修磨密封锥面使之密合等措施解决。

① 气阀漏气严重,皮囊内根本无氮气,以及皮囊破损进油。
②当系统最大工作压力过低时(低于蓄能器内氮气压力导致液压油进入不了蓄能器),蓄能器完全丧失蓄能功能(无能量可蓄)。
③其他阀有泄漏等故障。如图3所示的系统,当节流阀1调节开口过大或阀芯卡死在全开位置时,蓄能器往系统释放油液时,有一大部分油液从节流阀流向油箱,因此蓄能器不起作用或往系统补液时间长。当然也会同时产生蓄能器充液时间长的故障。此时可调小节流阀1的开口,对阀进洗。
分享到:

